Roland D-50 y su síntesis LA
- Todo un hito de los sintetizadores
- En qué consiste la síntesis LA
- Roland D-50, un hijo de Eric Persing (Spectrasonics Omnisphere)
- El poder de la suma de las partes
- Dos tipos de parciales: sintetizador y PCM
- Las muestras: nada que ver con un ‘sampling’ completo
- Sonidos = transitorios + cuerpo + posible ruido
- El señor de los anillos
- Más control, mayor expresividad
- El indiscutible papel de los efectos
- Crear sonidos tipo D-50 en sintes nuevos
Algunos sintetizadores han supuesto, más que un equipo o herramienta, un instrumento inspirador. El D-50 entra sin duda en esa categoría y todavía hoy ofrece mucho que aprender de su estrategia para la síntesis.
La magia del D-50 reside en que, siendo todavía uno de los primeros digitales, aprovecha la tecnología digital para ofrecer más polifonía y más funciones pero aún tiene que lidiar con imaginación frente a los recortes necesarios para evitar el disparo de los costes en unos años en que memoria y procesadores seguían siendo de alto precio. Y esa imaginación llevo a resultados afortunados. Usar los ultrapotentes sintetizadores actuales imponiendo nosotros ese tipo de limitaciones puede llevarnos a explorarlos de una forma diferente y obtener sonidos nuevos pero empapados de la filosofía del D-50.
Todo un hito de los sintetizadores
[Índice]Roland dio en llamar LA (linear arithmetic) al esquema de síntesis que creó para el D-50 y otros sintetizadores de la familia D. Los que no lo vivisteis no podéis imaginar el terremoto que supuso y la admiración que despertaba en todos los que acudimos a sus presentaciones. Pero las trazas de sus sonidos en infinidad de discos hablan por sí mismas: se hizo omnipresente.
Dejando aparte instrumentos de coste estratosférico como Fairlight, Synclavier, PPG y semejantes, y dejando también aparte por el lado más asequible a un DX-7 que había dado entrada a un universo nuevo de sonoridades pero que ya estaba comenzando a manifestar un cierto agotamiento o sobreexplotación de lo que permitía su innovadora síntesis por modulación lineal en frecuencia, la irrupción del D-50 introdujo a un coste no desorbitado sonoridades complejas, con evoluciones largas y timbres ricos. Sonidos con cualidades mucho más variadas, animadas y vivas que los un tanto planos y de marcado origen electrónico de los analógicos sustractivos o el propio DX-7. Los sonidos de corte imitativo eran de un generoso realismo para la época, exceptuando los sistemas estrictamente ‘sampling’, aunque eran más interesantes las texturas híbridas de las que era capaz. Creaba un limbo peculiar entre sonidos naturales y sintéticos.
Más que continuar la semblanza de un hito en los sintetizadores, pretendo un tutorial: tanto es lo que tiene que enseñarnos su motor de síntesis, cuyas lecciones son intemporales. Centrémonos por tanto, más que en las glosas a su bien conocida excelencia, en qué es lo que podemos aprender de su enfoque hacia la síntesis.
En qué consiste la síntesis LA
[Índice]Una de sus claves era que sus sonidos estaban basados en el apilamiento de numerosas ‘partes’. Otra el que acudía a un muestreo muy elemental que por cuestiones de coste no podía aún almacenar múltiples notas íntegras de cada instrumento y que a cambio tuvo que introducir altas dosis de sensibilidad musical y perceptual para cribar la paja y quedarse con la esencia de cada sonido. Acompañando ese peculiar muestreo, disponía de una recreación digital de la síntesis sustractiva más clásica, posibilitando así una polifonía imprescindible para esta síntesis ‘multicapa’. Tampoco renegaba de incluir elementos (modulación en anillo) que permitieran aportar la ‘modernidad’ del ampliado espectro y los sonidos metálicos tan propios de los DX-7, entonces paradigma de la síntesis ‘digital’. Aprovechaba también las facilidades de lo digital para ofrecer gran alcance del control, tanto en las crecidas capacidades de las envolventes y los LFO, como en el mejor aprovechamiento de ruedas, controles, velocidad, o presión (aftertouch). Introducía en una forma antes desconocida los efectos en el propio sintetizador (EQ, chorus/flanger, reverb/eco) . Una amalgama afortunada y a un precio que no lo hacía sólo pieza para estudios.
Enseguida desgranamos uno por sus aspectos más relevantes y las enseñanzas que nos permiten extraer hacia nuestros propios ejercicios de síntesis y creación sonora hoy. Pero más allá del feliz encuentro de diversas técnicas a un precio contenido que permitió su ingeniería, más allá de su oportunidad estrictamente tecnológica, el D-50 contó con un especial acierto consiguiendo convencer por su sonido y sus resultados, no sólo atraer por sus especificaciones. Algo que bebe en buena medida de uno de sus padres.
Roland D-50, un hijo de Eric Persing (Spectrasonics Omnisphere)
[Índice]Eric Persing, el hombre detrás de Spectrasonics, la empresa del reconocido y premiado software de síntesis Omnisphere, es también el padre buena parte de los conceptos y de los sonidos que trajo consigo el D-50. Incluso es posible encontrar numerosos paralelismos entre el enfoque D-50 y el enfoque Omnisphere. Entre ambos median años cruciales de desarrollo técnico, que impactan en los resultados y capacidades, claro, pero sorprende la cantidad de coincidencias entre uno y otro.
Más allá de las marcianadas que otros buscan desde los sintetizadores, la ‘visión’ o ‘filosofía’ de Eric, tanto en el D-50 como en Omnisphere, busca ese adecuado balance entre la capacidad de evocar y la capacidad de imaginar sonidos que muchos ansiamos encontrar en un sintetizador.
Evocar, sin imitar literalmente, sonidos conocidos, buscando más retener su expresión y su carácter orgánico, complejo y vivo, sin necesitar imperiosamente fotografiar cada uno de sus detalles. Imaginar sonidos sabiendo que la imaginación parte siempre de lo ya conocido para ser más productiva y enfocada, pero que introduce suficientes grados de libertad para poder alterar y combinar ese material de partida hacia algo personal.
Eric aporta al D-50 ese aprecio por el resultado musical que va más allá de lo que ninguna ingeniería ‘pura’ llega a aprovechar tras concebir una solución o innovación técnica. El D-50 es una de esas ocasiones de feliz simbiosis entre la ingeniería y la musicalidad. Su excelencia es el resultado no de sumar ambas, sino del efecto de multiplicación que sucede a veces cuando una y otra se retroalimentan.
El poder de la suma de las partes
[Índice]Frente a sintetizadores analógicos sustractivos polifónicos, en los que raramente veríamos en aquellos años más de dos osciladores y un filtro en la arquitectura que genera cada voz, el D-50 apila hasta 4 partes (‘partials’ o parciales) para crear un sonido, cada una de ellas cuatro con sus propios recursos de síntesis como oscilador, envolventes, filtros, etc. Algo hoy convencional en romplers y workstations, en los que no es extraño poder apilar un número aún mayor de secciones, pero en aquel momento novedoso: no era necesario ya reunir varios sintetizadores para completar un sonido complejo y multiparte, el D-50 podía bastarse por sí solo. Un solo teclado sonando como la reunión de varios.
Realmente cada sonido (o ‘Tone’ en términos de Roland) reunía ‘sólo’ dos parciales. Pero el D-50 era un sintetizador bitímbrico (capaz de hacer sonar dos sonidos a la vez) y aunque era factible un modo ‘split’ para usarlos en distintas zonas de teclado, la posibilidad de realizar ‘layer’ permitía reunir 4 partes sonando simultáneamente con cada pulsación de una tecla.
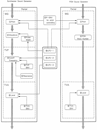
Cada uno de los dos ‘tones’ consistía en esencia en lo que se muestra en esta imagen.
Son dos parciales más algunos recursos comunes a ambos. Cada uno de los parciales, individualmente, podía ser configurado entre dos modos de funcionamiento: ‘PCM’ (muestreo) o ‘Sintetizador’ (una cadena oscilador/filtro/amplificador). Cada uno de los parciales cuenta con sus propios recursos que enseguida veremos. En común para uso por ambos existe un juego de 3 LFOs. También hay una envolvente compartida para ‘Pitch’, y un juego de efectos de inserción formado por una cadena de EQ y retardo corto modulable. Además de esos efectos, existe en el D-50 una reverb programable global, que actúa para los dos ‘tones’.
Es también un parámetro compartido por los dos parciales de un ‘Tone’ la selección de la ‘estructura’. Esta define el uso de modo PCM (P) o Sintetizador (S) para cada parcial y la presencia o no de un modulador en anillo (R) que combina el sonido de los dos parciales y cuya salida se mezcla con una de las dos señales:
Dos tipos de parciales: sintetizador y PCM
[Índice]El modo ‘Synth’ incluye la clásica cadena sustractiva de oscilador->filtro->amplificador, aquí llamados WG (wave generador), TVF (Time Variable Filter) y TVA (Time Variable Amplifier). En TVF y TVA sendas envolventes se encargan del carácter variante a lo largo del desarrollo de cada nota. El filtro, pese a ser digital, no renuncia al control de resonancia (una ausencia que sí sufría el posterior M1 de Korg, comparativamente mucho menos versátil como sinte, y cuyo éxito es más el de su carácter de ‘workstation’, con multimuestras extensas, secuenciador, multitimbralidad, mapas de batería/percusión, etc.). En este modo 'sinte', el WG es un generador de onda cuadrada de anchura variable y diente de sierra. Poco importa que el diente fuera generado a partir de la cuadrada en combinación con el filtrado posterior, un truco que hacía más simple el sistema (el oscilador es estrictamente cuadrado / binario y por tanto digital en esencia). Desde luego está lejos de cualquier idea de ‘modelado analógico detallado’ actual, pero con sus pros y sus contras técnicos, en aquellos años era clave para hacer posible un sistema así.
En el modo ‘PCM’, la estructura de un parcial era comparativamente más simple: adiós al filtrado y el WG no ya dedicado a generar ondas cuadrada o diente sino a reproducir una muestra elegida de entre el centenar que llevaba pregrabado en su memoria.
Las muestras: nada que ver con un ‘sampling’ completo
[Índice]Entendiendo que el modo ‘sintetizador’ en el fondo equivale a un sistema sustractivo pero en una implementación digital bien distante de los avanzados sistemas de modelado actuales, es el modo PCM el responsable de alguna de las más interesantes peculiaridades del D-50.
Sus muestras no eran simples capturas de notas íntegras de determinados instrumentos. Se trataba (la memoria era cara) de muestras bastante cortas en extensión, incapaces de alojar la duración íntegra de una nota. Además, una sola muestra para cubrir todo un registro amplio de varias octavas hubiera enseguida presentado los conocidos efectos de ogros y pitufos al reproducirla a diferentes velocidades para lograr distintas notas.
No era ese el objetivo de las muestras. Muchas de ellas contenían los ‘ruidos de ataque’ o transitorios que producían diferentes instrumentos. El golpe del martillo, el contacto inicial del arco o de la púa, el inicio de un soplido en un tubo o una botella… Sonidos originalmente grabados de un instrumento u objeto real, pero que, retirando la presencia del ‘cuerpo’ debido a los parciales ‘tonales’ se convertían en puros efectos de ‘ataque’. Muestras cortas, pero capaces de albergar la peculiaridad, altamente significativa en un plano perceptual, de esos primeros milisegundos inestables de diferentes familias de sonidos.
Diversos compositores e investigadores de música electroacústica ya habían recorrido 30 años antes ese terreno y demostraron que el añadido de esos ruidos e irregularidades de ataque podía hacer muchísimo más creíble un sonido creado por filtrado de una onda repetitiva.
Esas muestras ‘de ataque’ se usan a menudo sin alterar su afinación de acuerdo a la nota ejecutada. Ya sea con afinación fija, o variando sólo ligeramente a lo largo de todo el teclado. Y no pocas veces variando de forma mucho más significativa bajo control de la velocidad, como forma de añadir más dinamismo y expresividad al toque.
Otras muestras de las disponibles servían para contener (haciendo bucle, ‘loop’) una copia de la forma de onda monociclo ‘tipo’ para algunos sonidos muy habituales (al modo de lo que hacían los DW de Korg, o el K3 de Kawai), como lo son varios órganos y pianos eléctricos, bajos, cuerdas, sacos o varias vocales (las ondas 48 a 67). Pero los ‘loop’ también daban cabida a formas de onda nada naturales (las 68 a 75) sino marcadamente electrónicas, creadas combinando armónicos para configurar ciertos tipos de reparto espectral inusuales (las ondas ‘Spectrum’), con resultados que evocan sonidos propios de síntesis aditiva. Otro ‘loop’ (la onda 76) creaba la ilusión de un ruido.
Adicionalmente las ondas 77 a 100 lo que hacían era presentar varias de las ondas anteriores en una secuencia, capaz por tanto de generar una sensación de ‘frase’, de sucesión de timbres, que es un elemento altamente distintivo en varios sonidos clásicos del D-50 y que casi siempre funciona a modo de ‘pedal’, de sonoridad repetitiva de fondo, basada en un 'collage' de ondas (sólo remotamente emparentable con lo que luego acabarían siendo las ‘wavesequence’ de otros sintes).
Sonidos = transitorios + cuerpo + posible ruido
[Índice]Precisamente esta es una de las grandes lecciones olvidadas que nos ofreció el D-50. La combinación de una muestra muy corta, capaz de retener el carácter del ataque de un sonido natural, más una recreación sintética sustractiva para generar el posterior cuerpo tonal, y quizá una tercera capa que pueda aportar ruido acompañando constantemente el desarrollo de una nota (como sucede con el soplido en la flauta o el frotado del arco), es una forma muy eficiente de acercarse a un sonido dado. Sin recrearlo al 100%, pero sí evocándolo y ofreciendo posibilidades de alteración interesantes.
Es sobre todo una forma de realizar la síntesis descomponiéndola en la reunión de partes de alto significado (ataque, cuerpo tonal, fondo ruidoso), que podemos a partir de ese momento alterar de forma individual o combinar en formas no convencionales. Combinar el ruido de un ataque de arco con un cuerpo de tipo clarinete sobre un fondo de ruido de soplo sería un ejemplo.
A día de hoy la facilidad con la que podemos disponer de muestras extensas, multimuestreo con registro incluso de muestras para cada nota individual, el muestreo multicapa en velocidad, etc. nos lleva con facilidad a dejarnos seducir por el realismo extremo como meta. Inabarcable ese realismo extremo al D-50, de sus limitaciones se hizo virtud, concibiendo ese esquema flexible y de inmediato significado musical, que animaba y obligaba a investigar algo más en la creación de los sonidos, pensando qué hacer y cómo lograr un resultado eficaz musicalmente.
El señor de los anillos
[Índice]Menos frecuente en romplers y workstation ‘generalistas’, salvo los de la propia Roland, es la presencia de los moduladores en anillo. Afortunadamente en el D-50 se introdujeron y desde entonces Roland los ha mantenido (incluso mejorando con otras posibilidades en las ‘estructuras’). Mientras en un sintetizador analógico el anillo, caso de existir, solía estar ubicado combinando la salida de dos osciladores y antes del filtro, en el D-50 el anillo es un multiplicador entre la señal de los dos parciales, cada uno de ellos afectado de sus posibles TVF, TVA, más LFOs, envolvente de tono, etc. Y con la posibilidad de que intervengan en el anillo las muestras, no sólo los artificiales sonidos de onda cuadrada y diente. Un anillo capaz por ello de resultados mucho más variados y con posibilidades desconocidas en el uso de anillos en sintes analógicos. Unos anillos introducidos para mejor evocar los sonidos acampanados y metálicos de los entonces populares DX7, pero que servían finalmente otros múltiples propósitos.
Más control, mayor expresividad
[Índice]En comparación con los polifónicos estrictamente analógicos previos, imposible no reparar en la mucho más inmensa complejidad de control.
Sucede por ejemplo con la velocidad, el aftertouch o el keyscaling, aplicables a múltiples destinos, más allá de los usuales nivel o la frecuencia de corte, y alcanzando por ejemplo al ancho de pulso, o a la celeridad con la que transcurren las envolventes que dejan de ser por tanto de duraciones mortecinamente fijas y pueden dilatarse y encogerse.
Las envolventes son capaces de evoluciones mucho más intrincadas que las que llega a permitir la simpleza del típico ADSR, y permiten crear contornos multisegmento definidos por una sucesión de niveles y duraciones libremente configurable.
Junto con esas posibilidades amplias en las envolventes, encontramos también en en el D-50 capacidades generosas en los LFO, aunque los actuales en cualquier rompler son aún más variados.
Otro aspecto, tan a menudo desatendido, que siempre encuentro muy importante en el uso de sintetizadores, como es la capacidad de usar un keyscaling ambicioso que además de seleccionar una determinada pendiente ‘global’ pueda enfocar su acción sólo a partir de cierto punto del teclado, también estaba previsto. De hecho, en lugar de una única ‘ley’ de keyscaling, el D-50 aplica diferentes esquemas que se adaptan mejor a cada uso (nivel, frecuencia de corte, afinación) y que incluso aplican reglas muy específicas (no representadas en estas figuras) como algunas curvas capaces de crear el estiramiento de tono (stretching) propio de la afinación habitual en el piano acústico.
El indiscutible papel de los efectos
[Índice]Otra innovación, hoy común, que introdujo el D-50 es la incorporación en el propio sintetizador de unidades de efecto programables, que, mucho más allá de la simplicidad del chorus con el que se engordaban los sonidos analógicos, ofrecía en cada 'tone' EQ (dotada de una sección para graves con corte y ganancia, y otra paramétrica con frecuencia, Q y ganancia) y eco corto modulable (capacitado para varios tipos de trémolo, chorus y flanger, además del clásico Roland Dimension)' más una unidad global de reverberación y/o eco largo con realimentación por la que pasaba la combinación split o layer de dos ‘tones’.
Poder incorporar efectos con ajustes específicos para cada sonido creado, asociando así cada sonido con su tratamiento permitía tener ya en el propio sintetizador un resultado mucho más acabado y cercano a los muy procesados sonidos que aparecían en los discos al usar teclados y sintetizadores electrónicos, que eran siempre alterados en unidades externas. La presencia, complejidad y detalle de edición de los efectos, que parecía antes reservada al estudio de grabación, y que ahora pasaban a estar como un ingrediente más en la creación y finalización de los sonidos.
Crear sonidos tipo D-50 en sintes nuevos
[Índice]Para los muchos con añoranza del espacio de sonidos creado por el D-50, no está de más señalar que su arquitectura y recursos son fáciles de emular desde infinidad de romplers / workstations actuales (especialmente si es de la propia Roland, con lo que ofrecerá estructuras capaces de realizar ‘ring modulation’ entre parciales), o incluso un VA ambicioso que cuente con opción para carga de un pequeño espacio de muestras (valdría el Blofeld con su expansión SL, por citar uno bien popular).
Lo que parece que hemos olvidado es las ganas de explorar lo que nos ofrecen estos productos. Ahora que las muestras extensas y múltiples están por doquier es demasiado fácil dejarse subyugar por su extraordinario realismo, y las colecciones interminables de presets tampoco invitan a la creación propia. Pero las claves que hicieron del D-50 protagonista de una época, están también, quizá algo ocultas, en las profundidades de muchos sintes actuales.
En los romplers actuales no faltan formas de onda monociclo, ni muestras de ruidos de ataque, ni ondas tipo ‘Spectrum’, y tantos otros recursos, que a menudo dejamos pasar. Realmente tenemos unos D-50 evolucionadísimos en cualquier romper/workstation, ya sea de Roland, de Yamaha, de Korg, o de cualquier otro. Tan habituales suspiros por el retorno del D-50 o por una versión renovada sobre el mismo concepto… En realidad ya está con nosotros desde hace tiempo y en infinidad de equipos.
Otra opción es la recreación hardware del D-50 por la propia Roland, que se presentará mañana 9 de septiembre conmemorando los 30 años desde su lanzamiento. Todo apunta a que será en el singular formato de la ya muy extensa familia Roland Boutique y a tenor de lo que han sido las reconstrucciones de otros clásicos de la marca en esa serie, no va a decepcionar a quienes quieren recuperar el sonido y las posibilidades del D-50 sin tener que acudir a los riesgos y problemas de mantenimiento asociados al mercado de segunda mano. Pero no será la primera vez que Roland recree este ‘best seller’: lo hizo ya con una tarjeta para su VariOS y también hay una simulación D-50 disponible como software mediante Roland Cloud.















