La electroválvulas són especiales para órganos (aún no las he comprado), son supersilenciosas y a la vez potentes e intantáneas.
[attachment=1:272u7q80]Vávlula Compleja.png[/attachment:272u7q80]
Voltaje 12/14 V
Resistencia 75 Ohm
Consumición 0.19 A
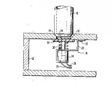
Yo me decanto más por esta:
[attachment=0:272u7q80]Válvula símple.png[/attachment:272u7q80]
de ésta no sé cuáles son sus especificaciones, pero debe de ser por un mismo estilo.
[attachment=1:272u7q80]Vávlula Compleja.png[/attachment:272u7q80]
Voltaje 12/14 V
Resistencia 75 Ohm
Consumición 0.19 A
Yo me decanto más por esta:
[attachment=0:272u7q80]Válvula símple.png[/attachment:272u7q80]
de ésta no sé cuáles son sus especificaciones, pero debe de ser por un mismo estilo.
Responder
Citar


